Auf dem Weg zum Holodeck: Google patentiert motorisierte Virtual Reality-Schuhe
Google engagiert sich bereits seit mehreren Jahren stark im Bereich der Virtual Reality und Augmented Reality, konnte den Technologien bisher aber ebenso wenig zum großen Durchbruch verhelfen wie die versammelte Konkurrenz. Ein sehr interessantes Patent zeigt nun, dass sich Google einem der wichtigsten Probleme dieser virtuellen Welten annimmt: Der physikalischen Bewegung durch die Räume.
Sowohl Virtual Reality als auch Augmented Reality bieten heute beeindruckende Erlebnisse, haben aber dennoch noch immer kein passendes Einsatzgebiet abseits des kurzweiligen Spaßes gefunden. Das liegt wohl auch daran, dass viele Menschen von den Technologien enttäuscht sind, da sie nicht das bieten, was von ihnen erwartet wird. Im Fernsehen sehen die virtuellen Realitäten bekanntlich etwas anders und aufregender aus. Und genau zu diesem Punkt muss die Technologie noch gelangen.
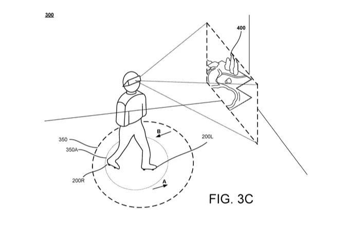
Ein Problem der virtuellen Realität ist die Fortbewegung, denn man möchte natürlich nicht nur im Raum stehen und den Kopf drehen, sondern auch von der Stelle kommen. Das ist zwar in großen Räumen möglich, aber dennoch hat man bei jedem Schritt die Angst, gleich gegen eine Wand zu laufen oder gegen ein Hindernis zu stoßen. Ein von Google eingereichtes Patent soll das lösen und es sogar ermöglichen, in sehr kleinen Räumen große Welten zu Fuß zu erforschen.
Um des umzusetzen, haben Googles Ingenieure nun Schuhe patentieren lassen, unter denen frei bewegliche Rollen oder Räder angebracht sind. Diese werden jeweils von einem Motor gesteuert und ermöglichen es, dass sich der Schuh mitsamt dem Träger selbst fortbewegen kann. Doch dabei handelt es sich nicht um Rollschuhe mit Motorantrieb, sondern eher genau um das Gegenteil. Der Träger soll sich trotz seiner Bewegung NICHT fortbewegen – und das setzen die Schuhe um.
Macht der Träger einen Schritt nach vorn, wird dies von den Schuhen erkannt, die genaue Schrittlänge und Geschwindigkeit analysiert und gegengesteuert. Während das eine Bein in der Luft ist, fährt der andere Schuh mitsamt der Person leicht in die entgegen gesetzte Richtung und sorgt dafür, dass sich der Mensch nicht von der Stelle bewegt. Das soll so flexibel sein, dass auch Schritte um die Ecke oder ein seitwärts laufen problemlos ausgeglichen werden kann.
Dieses System ist so einfach wie genial, dürfte aber sehr sehr viel Feintuning und vom Träger eine entsprechende Übung benötigen. Ansonsten würde man wohl bei jeder Fahrt, und sei sie noch so kurz und langsam, hinfallen. Ob sich das durch weitere Technologien oder Einblendungen vor den Augen des Nutzers beheben lässt, wird die langfristige Zukunft zeigen. Auf jeden Fall ein interessantes Konzept, das vielleicht eines schönen Tages auch Scifi-Technologien wie das Holodeck zur Wirklichkeit werden lassen könnte.
Siehe auch
» Von Google finanziertes Startup: AR-Headset Magic Leap One erscheint noch diesen Sommer (Videos)
» Realistische Virtual Reality-Bilder: Google übernimmt Light Fields-Pionier Lytro für 40 Mio. Dollar
» Marktforscher: Google Daydream & Co – Verkaufszahlen der Smartphone VR-Brillen brechen ein
GoogleWatchBlog bei Google News abonnieren | GoogleWatchBlog-Newsletter



Sehr interessant