Google Glass 2.0: Patent zeigt mögliche neue Form der Brille in Form eines Headsets
Seit dem Ende der ersten Version von Google Glass hält sich Google sehr bedeckt über das zweite Modell und sorgt dadurch für viele Spekulationen. Weder über den Funktionsumfang noch über das Design der Hardware ist etwas bekannt, es gibt lediglich immer wieder Informationsfetzen. Ein neues Patent zeigt nun, dass sich Google auch ganz andere Formen als das klassische Brillendesign vorstellen kann, bei dem das Gesicht zu großen Teilen frei bleibt. Das würde genau in das Konzept passen, dass die Hardware nicht mehr ganz so sehr auffallen und stören sollen.
Bekannt ist bisher, dass Google nicht nur an EINER Brille arbeitet, sondern gleich an drei neuen Projekten, wobei zwei davon aber nur auf Audiobasis funktionieren und kein Display besitzen sollen. Das ganze firmiert unter dem Project Aura und hat trotz des ersten Flops große Ambitionen. Doch trotz aller bereits bekannten Informationen, ist die genaue Form der neuen Brille noch immer nicht bekannt. Und möglicherweise könnte es sich bei der Brille gar nicht mehr um eine Brille im klassischen Sinne handeln.
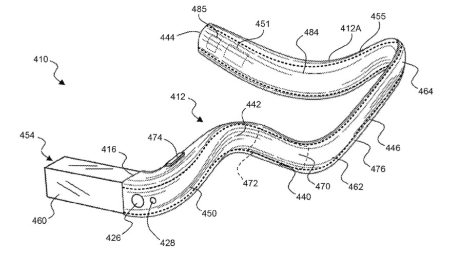
Obiges Bild zeigt eine mögliche Form der neuen Glass-Version, die sehr viel weniger Raum im Gesicht einnimmt und auch nicht mehr auf der Nase und den Ohren sitzt. Stattdessen wird das Gestell um den Kopf gespannt und wird mit dem Hinterkopf und dem Ohr festgehalten. Das Display wird dann über einen Bügel wieder vor das Auge des Nutzers geschoben, ohne dass dieses im Gesicht befestigt werden müsste. Es kommt also eine sehr ähnliche Technik wie bei einem Headset zum Einsatz, nur eben nicht auf Mund- sondern auf Augenhöhe.
Das Patent beschreibt auch eine Möglichkeit, mit der Inhalte auch für das andere Auge angezeigt werden können – und das ohne einen zweiten Bildschirm. Möglich könnte dies etwa das Hologramm-Patent machen, das Google ebenfalls bereits zugesprochen bekommen hat. Beides zusammen formt schon ein etwas klareres Bild von der zukünftigen Version von Google Glass. Die Frage wird natürlich auch sein, wie gut diese Gestellt tatsächlich am Kopf hält – denn anders als ein Mikrofon darf der Bildschirm natürlich nicht wackeln und muss stets an seinem Platz bleiben – andernfalls könnte dem Träger auch sehr schnell schwindlig werden.
Denkbar ist jetzt eigentlich auch, dass alle drei neuen Aura-Geräte auf der Grundlage aufbauen und aufeinander basieren. Der Träger könnte stets der gleich sein und müsste nur durch ein angestecktes Display oder ein Bone Conduction-Lautsprecher erweitert werden – also könnte es sich im Grunde wieder um ein und dasselbe Gerät handeln. Ob sich dies aber wirklich so einfach umsetzen lässt, werden wir dann möglicherweise schon bald sehen.
Mittlerweile ist nun schon einiges über die Hardware von Glass 2.0 bekant, doch über die Software gibt es bisher noch gar keine Informationen – und gerade diese könnte eine große Überraschung werden. Logisch wäre die Verwendung von Android Wear, doch in Stein gemeißelt ist das natürlich nicht…
[heise]
GoogleWatchBlog bei Google News abonnieren | GoogleWatchBlog-Newsletter

