Google Glass: Neues Patent erklärt Anzeige von Hologrammen auf dem Brillendisplay
Seit dem Neustart von Google Glass hält sich das Unternehmen, anders als bei der ersten Version der Brille, relativ bedeckt und gibt nur wenige Informationen über das zukünftige Einsatzgebiet und die Funktionen preis. Ein jetzt veröffentlichter Patentantrag zeigt, dass Google offenbar sehr große Pläne hat und auch Hologramme direkt in das Sichtfeld des Nutzers einblenden könnte. Damit könnten dann gleich mehrere aktuell laufende Projekte zusammengeführt und endlich zu einem Endprodukt kombiniert werden.
Google hat gleich mehrere Projekte im Bereich Virtual Reality / Augmented Reality in der Entwicklung, die allesamt aktuell noch verschiedene Ansätze verfolgen: Als erstes natürlich Google Glass als Datenbrille, die den Nutzer mit Informationen zu seiner Umwelt versorgen soll. Daneben wird das Cardboard entwickelt, dass schlicht und einfach das Smartphone als Displayersatz nutzt und Anzeigen von Apps aufbereitet. Als drittes hat Google eine halbe Milliarde Dollar in das AR-Startup Magic Leap gesteckt und unterstützt die Weiterentwicklung derer Technologie.
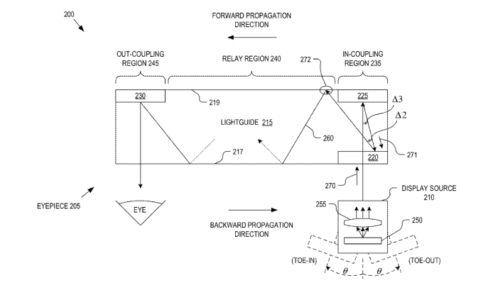
Das jetzt veröffentlichte Patent, das Google im vergangenen Jahr eingereicht hat aber noch nicht zugesprochen wurde, zeigt, wie in einer solchen Brille noch zusätzliche Informationen in Form von Hologrammen eingeblendet werden können. Diese sollen interaktiv sein und mit den Aktionen des Nutzers interagieren, ob nun per Hand oder durch Kopfbewegungen. Folgendes Video von Anfang des Jahres zeigt, wie sich Magic Leap die Zukunft von Augmented Reality vorstellt, und dass diese sowohl für Spiele als auch zum produktiven Einsatz geeignet ist.
Laut einigen Quellen soll Google eine Kombination der beiden Produkte Glass und Magic Leap planen, wobei Glass die Hardware liefert und das Start-Up für die Inhalte sorgen soll. Dazu passt auch die Tatsache, dass sich das Glass-Team mittlerweile in Project Aura umbenannt hat und sich allgemein nun um größere Dinge als „nur“ die Glass-Hardware kümmern soll. Ein weiterer Hinweis auf diesen langfristigen Plan ist auch, dass die Google Inc. damals die halbe Milliarde in das Start-Up gesteckt hat, und nicht Google Ventures oder ein anderer Unternehmensbereich zur Finanzierung von Start-Ups.
Da die Konkurrenz ebenfalls nicht schläft und die Projekte von Microsoft, Facebook & Co. ebenfalls sehr große Fortschritte machen, muss nun auch Google endlich Fakten schaffen und alle Projekte in diese Richtung zusammenführen. Offiziell hält man sich wie üblich zurück und gibt dazu nur den Kommentar ab, dass aus einem Patent nicht unbedingt immer ein Produkt werden muss – mehr konnte man natürlich auch nicht sagen. Es dürfte aber sicherlich nicht mehr all zu lange dauern, bis Google ein erstes Produkt vorstellt – denn zu lange Zeit lassen darf man sich damit nicht mehr. Allerdings hat man aber auch aus dem damaligen Desaster mit Glass 1.0 gelernt, als man ein halbfertiges Produkt geliefert hat.
GoogleWatchBlog bei Google News abonnieren | GoogleWatchBlog-Newsletter
