Google bekommt zwei verrückte Patente für interaktive Bücher zugesprochen
Trotz aller Digitalisierungen und der großen Verbreitung von eBook-Readern ist das klassische Buch noch lange nicht ausgestorben und erfreut sich nach wie großer Beliebtheit. Auch Google hat die Begeisterung für Bücher noch lange nicht verloren und hat nun sogar zwei neue Patente zugesprochen bekommen, die sich mit den gedruckten Werken beschäftigen. Diese sollen das klassische Buch in das nächste Zeitalter führen und mit AR-Elementen ausstatten.
Interaktive Bücher mit Licht- und Sound-Effekten gibt es zuhauf und richten sich vor allem an Kinder, doch Google möchte noch einen draufsetzen und Bücher tatsächlich mit modernen Technologien vollstopfen oder diese zumindest mit den elektronischen Geräten des Nutzers verknüpfen. Zumindest haben einige Entwickler vor etwas mehr als zwei Jahren zwei entsprechende Patente eingereicht, die dem Unternehmen nun zugesprochen worden sind.
Patent #1: Ein Buch mit Projektor & Co.

In dem Patent wird ein Buch beschrieben, das man wohl kaum noch als solches beschreiben kann: In jede einzelne Seite ist ein Bewegungs- und ein Drucksensor integriert, der bemerkt wenn die Seite umgeblättert wird oder der Leser darauf drückt. Daraufhin wird dann der im Buchrücken integrierte Projektor aktiviert, der dann beliebige Dinge auf die Seiten projiziert. Außerdem ist auch ein Lautsprecher mit dabei, der zusätzlich noch Soundeffekte ausgibt. Das so ein „Gerät“ aber jemals das Licht eines Buchladens erblicken wird, ist wohl eher unwahrscheinlich.
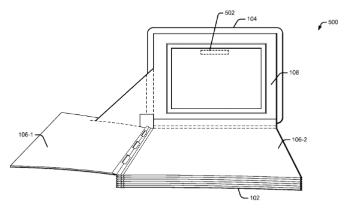
Patent #2: Verbindung von Buch und Smartphone/Tablet

Das zweite Patent ist schon deutlich realistischer und setzt auf ein klassisches Buch mit elektronischen Hilfsmitteln. Es wird eine Methode beschrieben, bei der das Buch mit Hilfe eines Tablets oder Smartphones konsumiert wird. Das Umblättern einer echten Buchseite blättert gleichzeitig auch eine virtuelle Seite um, auf der dann erweiterte Inhalte angezeigt werden. So kann etwa ein Bild im Buch auf dem Gerät animiert dargestellt oder möglicherweise auch interaktiv gestaltet werden.
Das erste Patent dürfte wohl kaum realistisch und kosteneffizient umzusetzen sein, aber möglicherweise finden einige Technologien aus diesem Bereich eine Verwendung in einem späteren Produkt. Das zweite Patent hingegen dürfte nicht ganz so schwer umzusetzen sein und kann die beiden Buch-Welten sehr gut miteinander verbinden.
Da das zweite Patente schon mehr als zwei Jahre auf dem Buckel hat, ist heute natürlich die Nutzung eines Smartphones oder Tablets gar nicht mehr notwendig. Viel sinnvoller ist natürlich der Einsatz einer solchen Software in einer VR-Brille, an der Google bekanntlich arbeitet, denn so hat der Nutzer weiterhin die Hände zum lesen frei und kann dennoch die Animationen direkt im Buch sehen.
» Das erste Patent
» Das zweite Patent
[Engadget]
GoogleWatchBlog bei Google News abonnieren | GoogleWatchBlog-Newsletter