Gute Nacht: Google bekommt Patent für Schlaf-Tracking ohne Wearable
Heute gibt es ja kaum noch einen Bereich des Lebens der nicht von Menschen überwacht und mit den diversen smarten Geräten getrackt wird. Das geht vom Schrittzähler über die sportlichen Aktivitäten bis hin zur ständigen Überwachung des Körperpuls. Google hat nun ein Patent eingereicht mit dem auch der Schlaf überwacht werden kann, und das ganze ohne Armband oder sonstigem smarten Gerät am Körper.
Mit dem Einzug der Wearables und Smartwatches ist das ständige Tracking schon zu einem Standard geworden und vermutlich gibt es eine ganze Reihe von Personen die auch ihren Schlaf tracken und so ständige Daten über ihre Schlafqualität sammeln. Das kann, wenn man diese auch tatsächlich praktisch einsetzt, sehr vernünftig sein, setzt aber immer ein unbequemes Armband voraus. Jetzt haben Googles Bastler dieses wegrationalisiert.
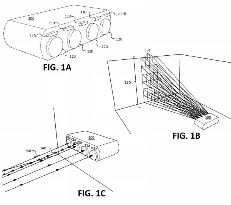
Google hat nun ein Patent zugesprochen bekommen, in dem ein Gerät zur Überwachung des Schlafes beschrieben wird. Dieses steht direkt neben dem Bett der zu überwachenden Person und setzt auf Infrarot. Bis zu vier Linsen sollen ein ganzes Infrarotraster aufbauen, mit dem die Person und jede kleinste Bewegung erkannt werden kann. Durch das Reflexionsmuster lässt sich jede kleine Bewegung erkennen und so vermutlich selbst die Atmung des Nutzers tracken, ganz ohne am Körper getragen werden zu müssen.
Der Sinn ist es aber nicht nur aufzuzeichnen ob man gut oder schlecht geschlafen hat, sondern hat auch einen ernsten Hintergrund. Durch das Tracking der Atmung und Bewegung kann das Gerät auch bei den gefährlichen Schlafapnoen helfen, bei denen die Atmung im Schlaf aussetzt. Sollte diese Phase zu lange dauern kann das Gerät auch an den Haus-Alarm angeschlossen werden und den Notruf wählen oder auf anderem Wege andere Personen per Alarm benachrichtigen.
Das Patent wurde bereits im Jahr 2015 eingereicht, wurde aber erst in der vergangenen Woche öffentlich bekannt. Wie immer bedeutet ein solches Patent natürlich nicht, dass Google dieses Gerät auch tatsächlich baut und als Produkt umsetzt. Viel mehr geht es um die Technologie, die sich so auch in andere Geräte integrieren lässt. Zu einem späteren Zeitpunkt ist selbst eine Integration in das Project Tango denkbar, so dass die Technologie eines Tages wieder in ein Smartphone integriert werden kann.
Zur Zeit sind viele Unternehmen beim Tracking des Schlafes aktiv und haben diesen Markt wohl als zukünftiges Geschäftsfeld entdeckt, um das niemand herum kommt. Erst vor kurzem hat Apple das Unternehmen Beddit übernommen dass sich ebenfalls mit der genauen Aufzeichnung des Nutzerschlafes beschäftigt. Langfristig kann aber so nicht nur der Schlaf sondern auch jede andere Bewegung des Menschen überwacht werden – wenn diese das denn möchten. Wer sich schon einen smarten Assistenten mit Mikrofon, Lautsprecher und Kamera in das Wohnzimmer stellt, dem wird diese Infrarot-Überwachung sicher auch nicht mehr stören 😉
[heise]
GoogleWatchBlog bei Google News abonnieren | GoogleWatchBlog-Newsletter


Die Android App „Sleep“ kann das schon seit vielen Jahren ohne am Körper getragen werden zu müssen. Es reicht aus das Smartphone auf die Matratze zu legen. Daher reißen die Aufhänger nicht wirklich. Im Gegenteil, das hier beschriebene System ist deutlich aufwendiger, größer und teurer. Nichts gegen eine Erwähnung, aber, dass es nicht am Körper getragen werden muss ist nichts besonderes, wie im Artikel aber suggeriert.