Google-Gründer Larry Page investiert 100 Millionen Dollar zur Entwicklung von fliegenden Autos
Schon vor fast 6 Jahren hat Google mit der Entwicklung des selbstfahrenden Autos begonnen und war damit eines der ersten Unternehmen in dieser zukunftsträchtigen Branche. Als treibende Kraft dahinter galt seit jeher Larry Page, der dem Projekt schon sehr früh eine hohe Priorität eingeräumt hat. Doch mittlerweile dürfte ihm das zu langweilig geworden sein, denn wie erst jetzt bekannt wurde hat er sich schon vor einigen Jahren einem noch ambitionierterem Projekt gewidmet: Fliegende Autos.
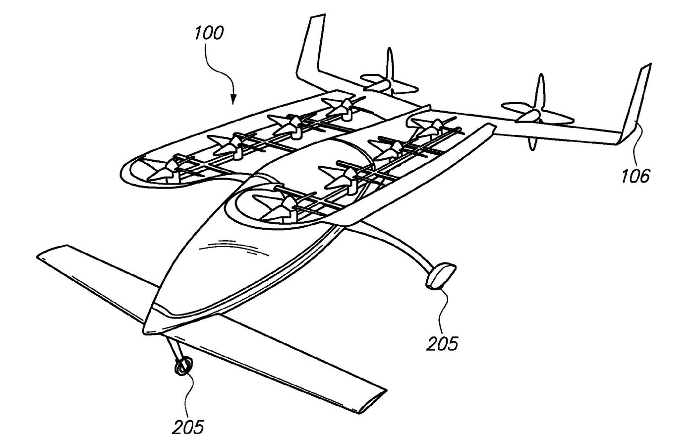
In jeder Zukunftsvision der letzten 100 Jahre kommen fliegende Autos vor, doch trotz aller technischer Fortschritte haben wir bis heute keine wirkliche Kombination aus Auto und Flugzeug bekommen – wenn man von einigen verrückten Erfindungen mal absieht. Google-Gründer und Alphabet-CEO Larry Page möchte das nun ändern und hat in den vergangenen Jahren viele Millionen Dollar in die Entwicklung solcher Fahrzeuge gesteckt.
Page hat mit seinem Privatvermögen in den vergangenen fünf Jahren mehr als 100 Millionen Dollar in die Unternehmen Zee.Aero und Kitty Hawk gesteckt, die beide an fliegenden Autos arbeiten. Beide Unternehmen arbeiten aber wenig überraschend im Stillen Kämmerlein und über Fortschritte ist nur wenig bekannt. Auf privaten Flugplätzen werden die Maschinen getestet und dürften wohl auch keine großen Rundflüge absolvieren.
Eine Voraussetzung für die Fahrzeuge ist es, dass sie direkt aus dem Stand Senkrecht starten können sollen – und das natürlich ohne die halbe Umwelt wegzupusten. Die Idee dahinter ist, dass der Verkehr der Zukunft einfach auf mehreren Ebenen stattfindet und man über andere Verkehrsteilnehmer einfach drüber fliegt. Zwar gibt es auch schon viele Unternehmen die an kleinen privaten Fliegern arbeiten, aber diese können eben nicht als Auto eingesetzt werden und mal eben vor der Haustür geparkt werden.
Ob die fliegenden Autos autonom fahren und fliegen sollen oder ob ein Mensch das Steuer in die Hand nimmt ist noch nicht bekannt, ersteres ist aber aufgrund der Anforderungen und der sehr viel höheren Gefahr wahrscheinlicher.
Page selbst wollte sein Investment übrigens geheim halten:
The Zee.Aero headquarters, located at 2700 Broderick Way, is a 30,000-square-foot, two-story white building with an ugly, blocky design and an industrial feel. Page initially restricted the Zee.Aero crew to the first floor, retaining the second floor for a man cave worthy of a multibillionaire: bedroom, bathroom, expensive paintings, a treadmill-like climbing wall, and one of SpaceX’s first rocket engines—a gift from his pal Musk. As part of the secrecy, Zee.Aero employees didn’t refer to Page by name; he was known as GUS, the guy upstairs. Soon enough, they needed the upstairs space, too, and engineers looked on in awe as GUS’s paintings, exercise gear, and rocket engine were hauled away.
In ein zweites Fliegendes-Auto-StartUp hat Page auch einen alten Bekannten eingebracht:
Last year a second Page-backed flying-car startup, Kitty Hawk, began operations and registered its headquarters to a two-story office building on the end of a tree-lined cul-de-sac about a half-mile away from Zee’s offices. Kitty Hawk’s staffers, sequestered from the Zee.Aero team, are working on a competing design. Its president, according to 2015 business filings, was Sebastian Thrun, the godfather of Google’s self-driving car program and the founder of research division Google X. Page and Google declined to speak about Zee.Aero or Kitty Hawk, as did Thrun.
Warum Page sein privates Geld in die Projekte steckt und daraus kein Google- oder Alphabet-Projekt gemacht hat ist unklar. Möglicherweise weiß er, dass ein solches Projekt wohl noch mit deutlich mehr Problemen zu kämpfen haben wird als ein selbstfahrendes Auto. Allein die gesetzlichen Hürden und die Anforderungen an den Verkehr und die Städte dürften dafür sorgen, dass trotz technischer Machbarkeit wohl nur die wenigsten von uns diese Innovation noch erleben werden…
Da beide Investments nun an die Öffentlichkeit gedrungen sind, wird Page vielleicht in Zukunft etwas mehr Einblicke in die Entwicklung und Arbeit der beiden StartUps geben. Hoffe ich zumindest.
GoogleWatchBlog bei Google News abonnieren | GoogleWatchBlog-Newsletter
