Neues Google-Patent kann erkennen, ob der Nutzer ein Auto selbst fährt oder nur Beifahrer ist
Das ein Smartphone in Kombination mit dem Auto fahren keine gute Idee ist, ist wohl jedem bekannt und mit gutem Grund auch in den meisten Ländern verboten. Bei Wearables wie Smartwatches hingegen sieht das ganze etwas anders aus und deren Nutzung am Steuer ist bisher noch nicht verboten. Ein jetzt veröffentlichtes Google-Patent beschreibt nun die Möglichkeit, mit dem Wearable herauszufinden ob der Nutzer das Auto, in dem er sich befindet, selbst fährt oder nur Beifahrer ist.
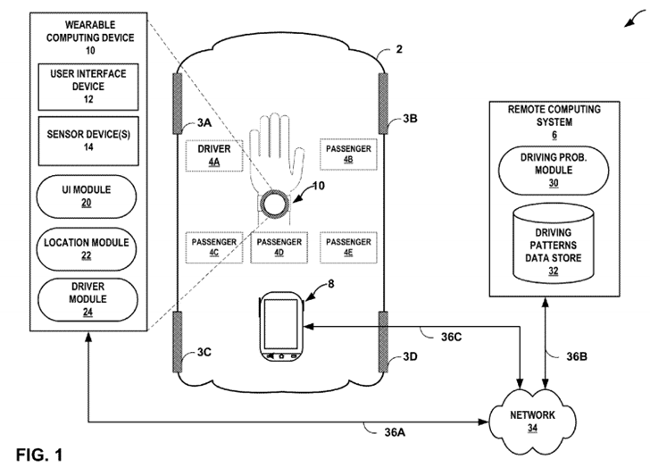
Dass sich eine Person in einem Fahrzeug befindet, können die Sensoren eines Smartphones schon lange herausfinden und können zwischen der Fortbewegung zu Fuß, per Fahrrad oder Auto unterscheiden. Doch ob der Nutzer das Auto nun selbst fährt oder nur Beifahrer ist, ließ sich bisher noch nicht herausfinden. Da der Nutzer im ersten Fall nicht unbedingt gestört werden sollte, lässt sich dies durch die im Patent beschriebene Methode automatisch herausfinden und das Smartphone entsprechend in den Nicht-Stören-Modus stellen.
Das Patent bezieht sich auf ein Wearable, das am Arm getragen wird, also eine Smartwatch. Durch die Handbewegungen des Trägers kann herausgefunden werden, ob der Nutzer das Auto selbst fährt oder nur Beifahrer ist. Dazu werden Bewegungen wie das Lenken oder das Betätigen des Schalthebels ausgewertet und erkannt. Bemerkt der Algorithmus dann, dass der Nutzer das Fahrzeug selbst fährt, werden keine oder nur sehr wenige Benachrichtigungen durchgestellt. Verlässt der Fahrer das Auto wieder, könnten dann alle eingegangenen Benachrichtigungen gebündelt angezeigt werden.
Wie zuverlässig das ganze funktionieren kann muss sich natürlich erst noch zeigen, denn bisher ist noch nicht bekannt dass ein Wearable eine solche Technologie verwendet. Das Patent könnte aber einigen Gesetzen zuvorkommen, die möglicherweise schon bald auch das Tragen von Wearables beim Auto fahren verbieten.
GoogleWatchBlog bei Google News abonnieren | GoogleWatchBlog-Newsletter
